Ελληνικά πιο κάτω
TONNA PART No 20438
UHF 2X19 ele. antenna
Now i have some problems to solve that is dedicated especially to this
TONNA 20438 antenna UHF F9FT cross 2X 19 ele antenna.
A.
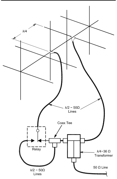
1. Why TONNA didn't support X on this 2X19 UHF antenna ?2. Why it has coaxial N-type female driven elem. connector while in the manual has two terminals,
3. Why does not have a BALOON like any other tonna ?
4. Is it the tip of the coaxial N-type female driven elem. connector to the inner conductor in the closed dipole ?
5. Why coaxial N-type female driven elem. connectors looks to the center. When going through a bugle cable isn't affect antenna ?
B
1. This antenna, is
not like the VHF cross TONNA's antenna part No 29818 (remind that at new
TONNAs added number TWO (2) in front of the old part Nrs)
they DO NOT NEED matcing-stub 50 ohms coax
Phisically constracted the delay by distance 1/4 λ the other polarization antenna aray on the same boom laying.
to make RHCP & LHCP at the UHF you do not need to add matcing stub 50Ω .
Only T mach with two equal coax feeding lines 75 ohm λ/4 - VF
2 . Always the RHCP (or LHCP) polarization is recognisable by looking the
"antenna" from the front side. Usually instruction are given looking antenna from the back but don't mess it.
3 Now the problem is to change from RHCP to LHCP. This can be done
changing the feeding on the second aray from left to the right when you
are looking antenna from the back . Thus just changing shield with
inner conductor in the same length coax. the problem is to not prolong
the one from other feeding coaxial 75 ohms
4. having divider i must find a way to make this polarization change? resolving
at the same time and the problem Νο 3 . fig 2
5. Why the tonna antenna bracket is not constructed for X setting ???
More fudtamental information on sat. antennas can be found on the website from SV1BSX,
the article he wrote is a great source of information if you want to
learn more about polarization. Unfortunately he is SK but we keep his
site alive.
ΠΡΟΒΛΗΜΑΤΑ ΜΕ ΤΙΣ ΔΟΡΥΦΟΡΙΚΕΣ ΚΕΡΑΙΕΣ ΤΟΝΝΑ ΤΩΝ 70 ΕΚΑΤΟΣΤΩΝ UHF 2X19
Γιατι ο ΤΟΝΝΑ δεν εκανε στηριξη Χ σε αυτη την δορυφορική κεραία ;
Γιατι εχει ομοαξωνική υποδοχη ενω στο εγχειριδιο εχει δυο ακροδέκτες,
Γιατι δεν εχει υποδοχη BALOON όπως σε ολες τις άλλες?
Γιατι δεν εχει καλή στηριξη η δαγκανα ?
Ειναι το tip signal της υποδοχης κονέκτορα το κεντρικο στο κλειστό διπολο ?
Γιατι βαζει να κοιτουν οι κονεκτορες προς το κεντρο. Οταν θα περασει ενα καλο καλωδιο δεν θα επιδρά στον συντονισμό ?
Ολα αυτα καλούμαι να τα λύσω και να παραγω καλά πρακτικά αποτελέσματα από αυτες τις κεραίες.
Με υπομονη μελέτη αλλά και με αναγωγες στην θεωρια, θα προσπαθησουμε να απορρίψουμε τα "ψέματα του Διαδικτίου" και να δουλέψουμε τις κεραίες σωστά.
μερικες εικονες παρακάτω
Amateur radio (also called ham radio) describes the use of radio frequency spectrum for purposes of non-commercial exchange of messages, wireless experimentation, self-training, private recreation, radiosport, contesting, and emergency communication.
"TraceMyIP.org"
28.10.17
GRC-109
this radio introduced as a spy set.
It was “The Jeep of the radio world” as dubbed by a former Special Forces radio operator in Vietnam
It was “The Jeep of the radio world” as dubbed by a former Special Forces radio operator in Vietnam
They were used extensively from the early 1950’s (as the RS-1) through the 1970’s and beyond by the CIA, Special Forces, other US military and allied units worldwide.
transmitter output of between 10 – 15 watts, a built in key that works well, versatile power supply options and a sensitive receiver, they did the job. The transmitter covered the frequency range of 3 to 22 MC in 4 bands; the receiver covered 3 to 24 MC in 4 bands.
History
of the GRC-109
[See the similar
historical information under the RS-1 section.]
The GRC-109 started production about 1961. Compared to the RS-1, GRC-109 units have more date-coded components, and more documentation is available to support those dates. GRC-109A units have a 1969 contract date on the ID plate.
In late 1961, the CIA organized a number of 12-man Special Forces teams to work with Montagnard tribesmen, and used the RS-1 for communications. Meanwhile, the Army's chief signal officer arranged for the RS-1 to be adopted for military use and renamed the GRC-109. Even though the Army had many RS-1 sets in use already, giving it an Army identifier would have simplified logistics. By late 1962, the Special Forces team network had 24 stations. The GRC-109 set in each "A detachment" SF camp was kept in a sandbagged bunker, with several antennas installed. The antennas were a target of Viet Cong raids, but for emergencies, they found that a longwire buried 18" underground in bamboo pipes could be used. [Ref. 6]
The GRC-109 became a standard issue radio to all combat units in forward areas after 1965. It was included in the inventory of all fire bases, and was at least used as a backup radio. Even though Special Forces had access to the latest high-tech radios, by the mid-1970's many units had adopted the GRC-109 as their primary long-range radio. It was rugged, reliable, and maintainable in the field, and offered several power supply options. The newer radios tended to require specialized batteries which were often not available in the field.
Estimated dates are summarized as follows:
The GRC-109 started production about 1961. Compared to the RS-1, GRC-109 units have more date-coded components, and more documentation is available to support those dates. GRC-109A units have a 1969 contract date on the ID plate.
In late 1961, the CIA organized a number of 12-man Special Forces teams to work with Montagnard tribesmen, and used the RS-1 for communications. Meanwhile, the Army's chief signal officer arranged for the RS-1 to be adopted for military use and renamed the GRC-109. Even though the Army had many RS-1 sets in use already, giving it an Army identifier would have simplified logistics. By late 1962, the Special Forces team network had 24 stations. The GRC-109 set in each "A detachment" SF camp was kept in a sandbagged bunker, with several antennas installed. The antennas were a target of Viet Cong raids, but for emergencies, they found that a longwire buried 18" underground in bamboo pipes could be used. [Ref. 6]
The GRC-109 became a standard issue radio to all combat units in forward areas after 1965. It was included in the inventory of all fire bases, and was at least used as a backup radio. Even though Special Forces had access to the latest high-tech radios, by the mid-1970's many units had adopted the GRC-109 as their primary long-range radio. It was rugged, reliable, and maintainable in the field, and offered several power supply options. The newer radios tended to require specialized batteries which were often not available in the field.
Estimated dates are summarized as follows:
·
RS-1:
1950-1964 (RT-3 #6487, a late-production unit, has apparently-original tubes
dated early 1964).
·
GRC-109:
1961-1969 (PP-2685 #88 has parts dated 1961).
·
GRC-109A:
1969-1973 (units have a 1969 contract date).
GRC-109 notes from
John Liner:
[Regarding
reliability:] I never had a 109 fail to function. I was always able to
communicate and send my traffic through with it. I operated in many different locations,
including an A camp in Viet Nam, the forests in southern Germany, and out of
apartment buildings in downtown West Berlin.
[Regarding
the apartment building use:] I used the big power supply that is part of the
GRC-109 kit [PP-2684]. The antenna was a broomstick with about 50-75 feet of
wire wound on it, with another 10 feet trailing off the end. The coil of wire
sort of made the antenna look electrically longer. I placed the broomstick in a
window and let the wire dangle out of it. Other guys have used stairwell
banisters for antennas. For a ground I just ran a wire to the radiator in the
room (most old German pre-war apartments had steam heat).
GRC-109 notes from
Don Valentine:
We
had small dry batteries for the AN/GRC-109 receiver so we wouldn't have to
crank that %$#@%$# generator to send and receive messages. I never saw a PA-109
while I was in SF. Apparently, it was only for transmitting and the operator
had to have a dry cell battery for the receiver or have the team gorilla crank
that &%$@#$ generator.
The
109 was very forgiving if you didn't erect a by-the-book antenna. When in Laos,
I communicated from Luang Prabang
to Vietiane using a coat hanger. It would even load a
military vehicle, wire clothes line, or barbwire fence and use that for an
antenna.
The
AN/PRC-74 replaced the GRC-109 on the SFODs in the mid-60s, except for the A
Camps in Vietnam. We helped test the proto-types while we were assigned to
Project Delta [Det. B-52, 5th SFGA] in Vietnam. The proto-types were called
HC-162s23.10.17
TONNA 20438 antenna UHF F9FT cross 2X19 ele. antenna discussion
TONNA PART No 20438
Now i have some problems to solve that is dedicated especially to this TONNA 20438 antenna UHF F9FT cross 2X 19 ele antenna.
1. This antenna, is not like the VHF cross TONNA's antenna part No 29818 (remind that at new TONNAs added number TWO (2) in front of the old part Nrs)
they DO NOT NEED matcing-stub 50 ohms coax
Phisically constracted the delay by distance 1/4 λ the other polarization antenna aray on the same boom laying.
to make RHCP & LHCP at the UHF you do not need to add matcing stub 50Ω .
Only T mach with two equal coax feeding lines 75 ohm λ/4 - VF (fig 1)
2 . Always the RHCP (or LHCP) polarization is recognisable by looking the "antenna" from the front side. Usually instruction are given looking antenna from the back but don't mess it.
3 Now the problem is to change from RHCP to LHCP. This can be done changing the feeding on the second aray from left to the right when you are looking antenna from the back . Thus just changing shield with inner conductor in the same length coax. the problem is to not prolong the one from other feeding coaxial 75 ohms
4. When you have the power divider must find a way to make this polarization change? resolving
at the same time and the problem Νο 3 . fig 2
5. Why the antenna bracket is not constructed for X setting ???
More fudtamental information on sat. antennas can be found on the website from SV1BSX, the article he wrote is a great source of information if you want to learn more about polarization. Unfortunately he is SK but we keep his site alive.
fig 1
Setting up new Satellite Set
this is the solution for the No 4 question
fig 2
----------------------------------------------------------------------------------------------------------------------------
Portable Satellite Antenna Base
an old setting
Subscribe to:
Comments (Atom)

















